| 产品分类 |
|
|
| 联系我们 |
| 全国服务热线: |
| 0318-8226429 |
| 手机:13932854890 |
| 邮箱:13932854890@139.com |
| 网址:www.zqrq.net |
| 地址:衡水市枣强镇门庄工业区 |
|
|
|
|
| 产品展示 |
您现在所在的位置:首页 > 产品展示 > 燃气调压器系列 |
|
|
| RTZ-*/*G系列调压器 |
产品用途
1、安装方便、空问要求小;流量大,精度高。
2、关闭特性灵敏、压力控制精调。
3、压力设定简单、高效降噪设计。
4、可在线维护、操作维护方便。
5、不锈钢内件、使用时间长。
6、当介质含有硫、苯等腐蚀性物质时,可选用抗离蚀材料。
7、适用介质:天然气、人工煤气、液化石油气、空气等。
8、可适用于城市门站,区域调压站、工业用户以及燃气轮机供气。 |
主要技术参数
进口压力P1:0.05-1.0MPa
出口压力P2:0.05-0.4MPa
稳压精度δP2:±5%
关闭压力Pb:≤1,15P2
工作温度:-20℃-60℃
公称压力:PN1.6、PN2.5
公称管径:DN25、DN40、DN50 |
|
|
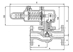
| 结构示意图 |
 |
|
调压器流量表 |
型号\项目 |
连接方式 |
A |
B |
C |
D |
E |
| 螺纹 |
法兰 |
RTZ-*/25G |
G1” |
DN25 |
200 |
99 |
67 |
167 |
310 |
RTZ-*/40G |
G1/2” |
DN40 |
200 |
117 |
75 |
174 |
330 |
RTZ-*/50G |
G2” |
DN50 |
200 |
134 |
83 |
181 |
350 |
|
|
|